Flush sprinkler head
Flush sprinkler head ZSTDQ80-72℃ Y
PRODUCT FEATURES DESCRIPTION
I. Nameplate Marking
1.The splash plate is engraved with "ZSTDQ 80-72°CY 2022";
2.The nozzle body is cast with "BA".
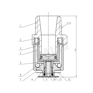
II. Key Components
1. Actuating Component Name: Firefighting Fusible Alloy Component
Specification: HT72
2. Sealing Component Name: Sprinkler Head Sealing Ring Specification: O14X1.8mm K80 15A
III. Product Specifications
Sprinkler Plate Dimensions: Circular, outer diameter1.
0(18+0.5)mm, number of teeth: 21.
2. Sprinkler Body Outlet Diameter: 11.'mm.
3. Sprinkler Head Weight: 93.0g (1+5%).
Product Parameters
Flow coefficient: 80; Nominal operating temperature: 72℃; Temperature sensing element: Fusible alloy.
Application Scenarios
Commonly found in hotels, shopping malls, warehouses, underground parking garages, factories, etc.
Parámetros técnicos

Deje su mensaje






